Лента колючая
Колючая лента Концертина используется для изготовления армированной колючей ленты нескольких типов, в том числе и колючей проволоки Гюрза. Основными достоинствами колючей ленты Концертина являются малый вес, низкая стоимость и возможность обжатия проволоки малого диаметра. Для производства колючей ленты Концертина была специально разработана и запатентована конструкция штампа, позволяющего изготавливать большее количество колючей ленты из единицы сырья, что, в свою очередь, снизило общие затраты на производство армированной колючей ленты Гюрза и спиральных заграждений из нее. При этом эксплуатационные свойства колючей ленты и армированной колючей ленты остаются на самом высоком уровне, что подтверждено многочисленными сертификатами.
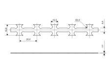
Колючая лента для производства колючей проволоки Гюрза изготавливается из оцинкованной рулонной стали на автоматических штамповочных линиях с использованием штампов специальной конструкции. В качестве сырья для колючей ленты используется сталь EN 10346 толщиной 0,45 мм с качественным цинковым покрытием 140-290 г/м2. Колюча лента имеет общую ширину 15,9 мм и участок под обжатие сердечника шириной 5,5 мм, что позволяет изготавливать армированную колючую ленту на основе проволоки диаметром 1,85 мм – колючая проволока Гюрза и 2,2 мм – колючая проволока Концертина. Продуманная конструкция штампа позволяет получать острые шипы и режущие кромки, и в то же время избежать повреждения цинкового покрытия в процессе изготовления колючей ленты.
Технические характеристики
| Ширина колючей ленты, мм | 15,9 |
|---|---|
| Ширина для обжатия проволоки, мм | 5,5 |
| Толщина колючей ленты, мм | 0,45 |
| Шаг зубцов колючей ленты, мм | 25,5 |
| Длина лезвий колючей ленты, мм | 10,5 |
| Радиус скругления основания лезвий, мм | 2,5 |
| Стандарт стали | EN 10346 |
| Цинковое покрытие, г/м2 | 140-200 |




